首页
考研
最新考研题库
中外美术史23新版
建筑类
二级建造师
一级建造师
一级造价工程师
监理工程师
安全工程师
一级消防工程师
消防设施操作员
医学类
主治类
执业药师
护师(初级)资格证考试
主管护师(中级)资格证考试
护士资格证考试
医师类
中药学类
金融类
基金从业资格
银行从业资格
证券从业资格
期货从业资格
银行招聘考试
财会类
初级经济师
中级经济师
初级会计师
中级会计师
注册会计师
税务师
资产评估师
教师类
中学教师笔试
小学教师笔试
幼儿教师笔试
幼儿结构化面试
幼儿专业面试
中小学结构化面试
学历提升
成考(专升本)
成考(高起本、高起专)
自考
网校课程
登录
注册好礼
我的主页
我的提问
我的回答
退出
当前位置:
首页
>
(结构) 基础考试一级
>
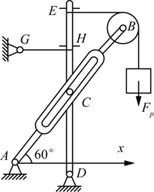
机构如图,杆ED上的点H水平绳拉住,其上的销钉C置于杆AB的光滑直槽中,各杆重均不计。则销钉C处约束力的作用线与x轴正向
单选
机构如图,杆ED上的点H水平绳拉住,其上的销钉C置于杆AB的光滑直槽中,各杆重均不计。则销钉C处约束力的作用线与x轴正向所或的夹角为( )。
A 0°
B 90°
C 60°
D 150°
正确答案
D
查看解析
搜索
相关试题
单选
设函数y=f(x)满足,且曲线y=f(x)在x=x0处有切线,则此切线( )。
A 与Ox轴平行 B 与Oy轴平行 C 与直线y=-x平行 D 与直线y=x平行
查看
单选
单选题 设可微函数y=y(x)由方程siny+ex-xy2=0所确定,则微分dy等于( )。
A A B B C C D D E E
查看
单选
设f(x)的二阶导数存在,y=f(ex),则等于( )。
A f″(ex)ex B [f″(ex)+f′(ex)]ex C f″(ex)e2x+f′(ex)ex D f″(ex)ex+f′(ex)e2x
查看
单选
曲线f(x)=x4+4x3+x+1在区间(-∞,+∞)上的拐点个数是( )。
B 1 C 2 D 3
查看
单选
单选题 当x→+∞时,下列函数为无穷大量的是( )。 A. B.xcosx C.e3x-1 D.1-arctanx
A A B B C C D D E E
查看
单选
单选题 下列函数在区间[-1,1]上满足罗尔定理条件的是( )。 A. B.f(x)=sinx2 C.f(x)=|x| D.f(x)=1/x
A A B B C C D D E E
查看
单选
单选题 过点M1(0,-1,2)和M2(1,0,1)且平行于z轴的平面方程是( )。 A.x-y=0 B. C.x+y-1=0 D.x-y-1=0
A A B B C C D D E E
查看
单选
过点(1,2)且切线斜率为2x的曲线y=y(x)应满足的关系式是( )。
A y′=2 B y″=2x C y′=2x,y(1)=2 D y″=2x,y(1)=2
查看
单选
单选题 设D是由直线y=x和圆x2+(y-1)2=1所围成且在直线y=x下方的平面区域,则二重积分等于( )。
A A B B C C D D E E
查看
单选
设A为n阶方阵,B是只对调A的一、二列所得的矩阵,若|A|≠|B|,则下面结论中一定成立的是( )。
A |A|可能为0 B |A|≠0 C |A+B|≠A D |A-B|≠A
查看
刷题小程序
热门试卷
2017年注册结构工程师《公共基础考试》真题
2018年注册结构工程师《公共基础考试》真题
2019年注册结构工程师《公共基础考试》真题
2020年注册结构工程师《公共基础考试》真题
2021年注册结构工程师《公共基础考试》真题
2022年注册结构工程师《公共基础考试》真题
2022延考年注册结构工程师《公共基础考试》真题
2023年注册结构工程师《公共基础考试》真题
2024年注册结构工程师《公共基础考试》真题