分析

案例题 某新建住宅工程,地下2 层,地上12 层,基底设计标高为-9.0m。基坑侧壁安全等级为二级,基坑施工采用土钉墙支护。
施工前,施工单位编制了《土钉墙边坡支护方案》,部分内容为:(1)墙面垂直高度与水平宽度的比值为1:0.15;(2)土钉水平间距和竖向间距均为3m;(3)土钉倾角为25°;(4)喷射混凝土面层采用C20 混凝土。并附有土钉墙剖面示意图(图1-1)。监理工程师在审查方案时发现诸多不妥之处,要求施工单位进行修改。

图1-1 土钉墙剖面图

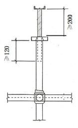
图1-2 脚手架托撑
修改后的专项方案通过相关审批审查手续后,建设单位组织召开专家论证会,参会人员包括建设单位项目负责人和施工单位项目负责人、项目技术负责人等。设计单位项目技术负责人以专家身份参会。
主体结构施工阶段,施工单位搭设了落地式钢管脚手架,立杆直径为42mm,安全检查中发现脚手架托撑设置不合理,如图1-2 所示。脚手架安装就位后,项目部及时进行检查和验收,配备检查工具如表1-1 所示:
表1-1 脚手架检查工具一览表

问题:
1.请指出图1-1 中①②③④代表的名称?指出《土钉墙边坡支护方案》中的不妥之处,并说明理由。
2.指出专家论证会组织形式的错误之处,说明理由。除背景中人员外,施工单位还有哪些人员应参加专家论证会?
3.写出脚手架检查工具表格中A、B、C、D 代表的信息内容。
4.针对脚手架托撑搭设不合理之处,写出正确做法。

正确答案
1.(1)①土钉、②混凝土喷射面层、③基坑底面、④钢筋网。
(2)不妥之处一:墙面垂直高度与水平宽度的比值为1:0.15。
理由:土钉墙墙面坡度不宜大于1:0.2。
不妥之处二:土钉水平间距和竖向间距均为3m。
理由:土钉水平间距和竖向间距宜为1~2m。
不妥之处三:土钉墙倾角为25°。
理由:土钉墙与水平面夹角宜为5°~20°。
2.(1)错误之处一:建设单位组织召开专家论证会。
理由:应当由施工单位组织召开专家论证会对专项施工方案进行论证。错误之处二:设计单位项目技术负责人以专家身份参会。
理由:与本工程有利害关系的人员不得以专家身份参加专家论证会。
(2)施工单位还应参加的人员有:施工单位技术负责人或授权委派的专业技术人员、专项施工方案编制人员、项目专职安全生产管理人员及相关人员。
3.A:检查扣件拧紧力度(或脚手架连接螺栓的紧固程度)。
B:检查钢管搭设长度或搭设高度。
C:水平尺。
D:检查剪刀撑与地面的倾角。
4.脚手架可调底座和可调托撑调节螺杆插入脚手架立杆内的长度不应小于150mm,调节螺杆插入的立杆钢管直径为42mm 时,伸出长度不应大于200mm。
查看解析

相关试题

单选
某住宅楼室外地面标高为- 0.3m,屋面面层标高为24.0m,女儿墙顶标高为25.2m,出屋面楼梯间(占屋面面积的1/4)屋顶最高点标高为26.7m,则该工程的
A 23.7 B 24.3 C 25.5 D 27.0
查看
单选
根据《民用建筑设计统一标准》(GB50352-2019),下列民用建筑中属于高层民用建筑的是( )。
A 24m 高办公楼 B 30m 高单层展览馆 C 30m 高住宅 D 110m 高酒店
查看
单选
关于砌筑砂浆标准养护试件的说法,正确的是( )。
A 立方体试件以6 个为一组进行评定 B 标准养护龄期应为28 天 C 试件为边长为150mm 的立方体 D 用胶砂法测得立方体试件的抗压强度标准值
查看
单选
根据用途的不同,工业用钢常分为( )。
A 普通钢、优质钢、高级优质钢 B 结构钢、工具钢和特殊性能钢 C 优质钢、工具钢和特殊性能钢 D 普通钢、优质钢、高级优质钢和特级优质钢
查看
单选
关于框架-剪力墙结构,下列说法错误的是( )。
A 剪力墙主要承受水平荷载 B 竖向荷载主要由框架承担 C 具有平面布置灵活,空间较大的优点 D 具有侧向刚度较小的缺点
查看
单选
钢筋混凝土预制桩采用锤击沉桩法施工时,其施工顺序包括:①打桩机就位;②确定桩位和沉桩顺序;③吊桩喂桩;④校正;⑤锤击沉桩。通常的施工顺序为( )。
A ①②③④⑤ B ②①③④⑤ C ①②③⑤④ D ②①③⑤④
查看
单选
关于土钉墙的施工要求,正确的是( )。
A 土钉墙全部施工完成后,应按要求抽查土钉的抗拔力 B 上一层土钉完成注浆24h 后,才可开挖下层土方 C 第一次注浆初凝后,方可进行二次注浆 D 土钉筋体保护层厚度不应小于20mm
查看
单选
只有建筑工程设计专业资质可以设( )。
A 甲级 B 乙级 C 丙级 D 丁级
查看
单选
下列事件中,满足结构安全性功能要求的是( )。
A 某厂房在正常使用时,吊车梁变形过大使吊车无法正常运行 B 某建筑物遇到罕遇地震,但结构仍保持整体稳定性 C 某游泳馆的水池出现了裂缝,无法蓄水 D 某水下构筑物在正常维护条件下,钢筋受到严重锈蚀,但满足使用年限
查看
单选
建筑物细部放样的最直接依据是( )。
A 施工控制网 B 场区控制网 C 主轴线 D 副轴线
查看
刷题小程序
建筑工程管理与实务题库小程序