首页
考研
最新考研题库
中外美术史23新版
建筑类
二级建造师
一级建造师
一级造价工程师
监理工程师
安全工程师
一级消防工程师
消防设施操作员
医学类
主治类
执业药师
护师(初级)资格证考试
主管护师(中级)资格证考试
护士资格证考试
医师类
中药学类
金融类
基金从业资格
银行从业资格
证券从业资格
期货从业资格
银行招聘考试
财会类
初级经济师
中级经济师
初级会计师
中级会计师
注册会计师
税务师
资产评估师
教师类
中学教师笔试
小学教师笔试
幼儿教师笔试
幼儿结构化面试
幼儿专业面试
中小学结构化面试
学历提升
成考(专升本)
成考(高起本、高起专)
自考
网校课程
登录
注册好礼
我的主页
我的提问
我的回答
退出
当前位置:
首页
>
(银行招聘) 职业能力测验
>
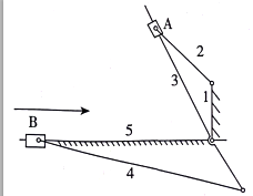
如图所示,在标明小圆圈处表示两杆或者杆和滑块可以相互自由转动,杆1和5相互垂直而且固定不动,两滑块可以沿穿过的杆滑动。杆
单选
如图所示,在标明小圆圈处表示两杆或者杆和滑块可以相互自由转动,杆1和5相互垂直而且固定不动,两滑块可以沿穿过的杆滑动。杆2长√2,杆1长为1。当滑块在5上自由滑动时,杆2转过的最大角度为( )。
A 360°
B 270°
C 180°
D 90°
正确答案
B
查看解析
搜索
相关试题
单选
It is on this ( ) that say that human civilization may have come from some plane
A premise B pretext C evidence D presentation
查看
单选
He looks so depressed that he is not in the ( ) to go outing with us.
A emotion B feeling C mood D mind
查看
单选
The homeless population in most of the country has been declining for years, tha
A insurance B profession C regulation D unemployment
查看
单选
This kind woman, is our ( ) head teacher, now in a large family as a gold nanny
A some times B some time C sometime D sometimes
查看
单选
While traveling in the frontier region, he ( ) many popular songs that are still
A designed B produced C composed D invented
查看
单选
Lucy ( ) the teacher that she wrote the paper and did not plagiarize.
A reinforced B pledged C convinced D required
查看
单选
After three hours, most of the toxins in his body had been ( ) and he was able t
A disposed B eliminated C abolished D canceled
查看
单选
In our country, teachers generally require students to be quiet and ( ) in the c
A obedient B faithful C subsidiary D skeptical
查看
单选
Because of illness, I ( ) going to the scene to watch that wonderful game.
A stopped B failed C missed D ceased
查看
单选
It appears there's a ceasefire in the U.S. trade war with Europe. The two sides
A deficits B criteria C budgets D tariffs
查看
刷题小程序
热门试卷
2019年《中国银行》(秋招)校园招聘真题
2020年《中国银行》(秋招)校园招聘真题
2020年《中国银行》(春招)校园招聘真题
2021年《中国银行》(秋招)校园招聘真题
2021年《中国银行》(春招)校园招聘真题
2022年《中国银行》(秋招)校园招聘真题
2022年《中国银行》(春招)校园招聘真题
2023年《中国银行》校园招聘真题
2024年《中国银行》(秋招)校园招聘真题
2024年《中国银行》(春招)校园招聘真题
2025年《中国银行》校园招聘真题
2019年《工商银行》(秋招)校园招聘真题
2019年《工商银行》(春招)校园招聘真题