首页
考研
最新考研题库
中外美术史23新版
建筑类
二级建造师
一级建造师
一级造价工程师
监理工程师
安全工程师
一级消防工程师
消防设施操作员
医学类
主治类
执业药师
护师(初级)资格证考试
主管护师(中级)资格证考试
护士资格证考试
医师类
中药学类
金融类
基金从业资格
银行从业资格
证券从业资格
期货从业资格
银行招聘考试
财会类
初级经济师
中级经济师
初级会计师
中级会计师
注册会计师
税务师
资产评估师
教师类
中学教师笔试
小学教师笔试
幼儿教师笔试
幼儿结构化面试
幼儿专业面试
中小学结构化面试
学历提升
成考(专升本)
成考(高起本、高起专)
自考
网校课程
登录
注册好礼
我的主页
我的提问
我的回答
退出
当前位置:
首页
>
(结构) 专业考试一级
>
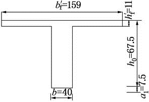
某混凝土简支梁桥由多片T形梁组成,其计算跨径L=14.5m,设计荷载为公路—Ⅱ级荷载。其中单片主梁断面尺寸如图所示,混凝
单选
某混凝土简支梁桥由多片T形梁组成,其计算跨径L=14.5m,设计荷载为公路—Ⅱ级荷载。其中单片主梁断面尺寸如图所示,混凝土强度等级为C30,fcd=13.8MPa,主筋为HRB335钢筋,fsd=280MPa。已知混凝土容重为25kN/m^3。
主梁断面尺寸(cm)
假定单片主梁计算支点恒载剪力为Q恒=185.35kN,其支点剪力汽车荷载横向分配系数为0.524,汽车荷载冲击系数为0.152。按承载能力极限状态计算该梁支点截面最大剪力最接近于( )kN。
A 490.48
B 547.27
C 694.91
D 712.56
正确答案
A
查看解析
搜索
相关试题
刷题小程序
热门试卷