首页
考研
最新考研题库
中外美术史23新版
建筑类
二级建造师
一级建造师
一级造价工程师
监理工程师
安全工程师
一级消防工程师
消防设施操作员
医学类
主治类
执业药师
护师(初级)资格证考试
主管护师(中级)资格证考试
护士资格证考试
医师类
中药学类
金融类
基金从业资格
银行从业资格
证券从业资格
期货从业资格
银行招聘考试
财会类
初级经济师
中级经济师
初级会计师
中级会计师
注册会计师
税务师
资产评估师
教师类
中学教师笔试
小学教师笔试
幼儿教师笔试
幼儿结构化面试
幼儿专业面试
中小学结构化面试
学历提升
成考(专升本)
成考(高起本、高起专)
自考
网校课程
登录
注册好礼
我的主页
我的提问
我的回答
退出
当前位置:
首页
>
(结构) 专业考试一级
>
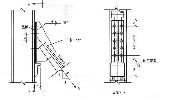
如图所示连接节点,斜杆承受轴心拉力设计值N=400kN,钢材采用Q235-BF(3号钢)焊接时,采用E43型手工焊条。高
单选
如图所示连接节点,斜杆承受轴心拉力设计值N=400kN,钢材采用Q235-BF(3号钢)焊接时,采用E43型手工焊条。高强螺栓连接时,采用摩擦型高强度螺栓M20,材质为20MnTiB,等级为10.9级,接触面喷砂处理。普通螺栓受拉连接时,采用M20普通螺栓,Q235钢(3号钢)制作,4.6级。
角焊缝“A”的长度是?( )
A A、150mm
B B、160mm
C C、220mm
D D、310mm
正确答案
C
查看解析
搜索
相关试题
单选
关于混凝土结构安全等级的下列论述,何项正确?( )
A A、建筑物中各类结构构件的安全等级,宜与整个结构的安全等级相同,部分构件可适当调整,但不得低于三级 B B、混凝土屋架、托架的安全等级可提高一级 C C、承受恒载为主的柱的安全等级可提高一级 D D、施工阶段预制构件的安全等级可降低一级,但不得低于三级
查看
单选
已知支承吊车梁的柱牛腿,如图1所示,宽度b=500mm,竖向力作用点至下柱边缘的水平距离a=50mm(已考虑安全偏差20mm),牛腿底面倾斜角a=45,作用在牛
A A、485 B B、569 C C、634 D D、582
查看
单选
若截面的有效高度ho=710mm,除竖向力外,作用在牛腿顶部的水平力设计值Fh=ll0kN,则纵向受拉钢筋的截面面积(mm2),与下列何项数值最为接近?( )
A A、1426 B B、1516 C C、1324 D D、1629
查看
单选
某民用建筑的双跨现浇钢筋混凝土单向板,两跨跨中同时各作用有重量相等的设备,设备直接放置在楼面板上(无垫层),其基座尺寸为0.6m0.8m,如图所示。楼板支承在梁
A A、9、5 B B、11、5 C C、13、5 D D、15、5
查看
单选
取设备基础边缘距现浇单向板非支承边的距离d1=800mm。试问,当把板上的局部荷载折算成为等效均布活荷载时,其有效分布宽度b'(m),与下列何项数值最为接近?(
A A、2、4 B B、2、6 C C、2、8 D D、3、0
查看
单选
某钢筋混凝土五跨连续梁,其计算简图及B支座配筋如图3所示。混凝土强度等级为C30,ft=1.43N/mm2,ftk=2.01N/mm2,Ec=3.0104N/m
A A、9、271013 B B、9、791013 C C、1、151014 D D、1、311014
查看
单选
假定AB跨(即左端边跨)按荷载效应标准组合并考虑长期作用影响的跨中最大弯矩截面的刚度和B支座处的刚度,依次分别为B1=8.41013Nmm2,B2=6.5101
A A、20、5 B B、22、6 C C、30、4 D D、34、2
查看
单选
单选题 某框架角柱截面尺寸bh=600mm600mm,抗震等级为一级,Ⅱ类场地,采用C40混凝土,纵向受力钢筋采用HRB335级,箍筋采用HPB235级,该柱配
A A B B C C D D E E
查看
单选
有一六层框架结构的角柱,其按平法(03G101-1)的施工图原位表示见图。该结构为一般民用建筑,无库房区,且作用在结构上的活载仅为按等效均布荷载计算的楼面活载。
A A、有二处违反规范要求 B B、完全满足规范要求 C C、有一处违反规范要求 D D、有三处违反规范要求
查看
单选
各种荷载在该角柱控制截面产生的内力标准值如下: 永久荷载:M=280.5kNm,N=860.0kN; 活载:M=130.8kNm,N=580.0kN; 水平地震
A A、λ=0、359 B B、λ=0、588 C C、λ=0、714 D D、λ=0、508
查看
刷题小程序
热门试卷
一级注册结构工程师《 专业考试》模拟卷1
一级注册结构工程师《 专业考试》模拟卷2
一级注册结构工程师《 专业考试》模拟卷3
一级注册结构工程师《 专业考试》模拟卷4
一级注册结构工程师《 专业考试》模拟卷5
一级注册结构工程师《 专业考试》预测卷1
一级注册结构工程师《 专业考试》预测卷2
一级注册结构工程师《 专业考试》预测卷3
一级注册结构工程师《 专业考试》预测卷4