首页
考研
最新考研题库
中外美术史23新版
建筑类
二级建造师
一级建造师
一级造价工程师
监理工程师
安全工程师
一级消防工程师
消防设施操作员
医学类
主治类
执业药师
护师(初级)资格证考试
主管护师(中级)资格证考试
护士资格证考试
医师类
中药学类
金融类
基金从业资格
银行从业资格
证券从业资格
期货从业资格
银行招聘考试
财会类
初级经济师
中级经济师
初级会计师
中级会计师
注册会计师
税务师
资产评估师
教师类
中学教师笔试
小学教师笔试
幼儿教师笔试
幼儿结构化面试
幼儿专业面试
中小学结构化面试
学历提升
成考(专升本)
成考(高起本、高起专)
自考
网校课程
登录
注册好礼
我的主页
我的提问
我的回答
退出
当前位置:
首页
>
(结构) 专业考试一级
>
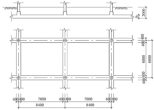
某框架结构,平面、竖向规则,各层刚心与重心重合,柱网尺寸均为6.8m×8.4m,结构安全等级为二级,不考虑地震作用,基础
单选
某框架结构,平面、竖向规则,各层刚心与重心重合,柱网尺寸均为6.8m×8.4m,结构安全等级为二级,不考虑地震作用,基础及其上土的加权平均重度为20kN/m3。
假定,建筑高26m,地基进行了适当处理,基础采用梁板式筏板基础,混凝土强度等级C35,ft=1.57N/mm2,基底处地基土反力均匀分布,且相应于荷载效应基本组合的地基土净反力设计值Pn=205kPa。试问,按《建筑地基基础设计规范》(GB 50007—2011),为使底板受冲切承载力及构造符合要求,底板最小厚度h,与下列何项数值最为接近?( )
提示:①as=70mm,βhp=1.0;
②不必进行抗剪,抗弯验算。
A 350mm
B 400mm
C 450mm
D 500mm
正确答案
C
查看解析
搜索
相关试题
单选
某山区一座公路桥梁,位于抗震设防烈度Ⅷ度区,抗震设防类别为B类。由于桥墩高度相差较大,拟采用抗震体系类型Ⅱ,即通过选用减隔震支座减少结构地震反应。假定,该桥采用
A 1.0m B 4.0m C 6.0m D 10.0m
查看
单选
某砌体房屋,安全等级为二级,采用墙下钢筋混凝土条形基础,拟采用换填垫层法进行地基处理,因工期紧张,垫层换填完成,检验合格后即进行基础及上部结构施工。基础及其上土
A Pz+Pcz>faz B Pz+Pcz=faz C Pz+Pcz<faz D 无法判断
查看
单选
某砌体房屋,安全等级为二级,采用墙下钢筋混凝土条形基础,拟采用换填垫层法进行地基处理,因工期紧张,垫层换填完成,检验合格后即进行基础及上部结构施工。基础及其上土
A 30mm B 40mm C 50mm D 60mm
查看
单选
某拟建17层现浇混凝土框架-剪力墙结构,单层地下室(兼作人防),梁板式筏形基础,首层高3.8m(室内外高差0.15m),其他层层高3.55m,平面、竖向规则,抗
A 特一级 B 一级 C 二级 D 三级
查看
单选
某框架结构,平面、竖向规则,各层刚心与重心重合,柱网尺寸均为6.8m×8.4m,结构安全等级为二级,不考虑地震作用,基础及其上土的加权平均重度为20kN/m3。
A 170kPa B 185kPa C 200kPa D 220kPa
查看
单选
某框架结构,平面、竖向规则,各层刚心与重心重合,柱网尺寸均为6.8m×8.4m,结构安全等级为二级,不考虑地震作用,基础及其上土的加权平均重度为20kN/m3。
B 1 C 2 D 3
查看
单选
某框架结构,平面、竖向规则,各层刚心与重心重合,柱网尺寸均为6.8m×8.4m,结构安全等级为二级,不考虑地震作用,基础及其上土的加权平均重度为20kN/m3。
A 1.1 B 1.20 C 1.30 D 1.45
查看
单选
某跨线桥上部结构采用现浇预应力混凝土连续箱梁,跨径布置为30m+35m+30m,下部结构两中墩柱与主梁固接连接。经计算,主梁某中墩支点截面处弯矩,最不利工况下9
A -8500kN·m B -11500kN·m C -15500kN·m D -19000kN·m
查看
单选
某公路上的一座预应力混凝土现浇箱形梁桥,其体内纵向预应力钢束在腹板变宽区域平弯渐变,钢束保护层厚度按规范构造要求取最小值,为防止钢束径向力挤压混凝土保护层而产生
A 6mm B 10mm C 16mm D 25mm
查看
单选
某公路桥头引道填方路堤两侧设置挡土墙,道路净宽8.0m,汽车荷载为公路-I级。在进行挡土墙设计时,汽车荷载在挡土墙后土体破坏棱体范围内的作用可换算成等代均布土层
A 0.5m B 1.0m C 1.5m D 2.0m
查看
刷题小程序
热门试卷
2018年(上午)一级注册结构工程师《 专业考试》真题
2018年(下午)一级注册结构工程师《 专业考试》真题
2019年(上午)一级注册结构工程师《 专业考试》真题
2019年(下午)一级注册结构工程师《 专业考试》真题
2020年(上午)一级注册结构工程师《 专业考试》真题
2020年(下午)一级注册结构工程师《 专业考试》真题
2021年(上午)一级注册结构工程师《 专业考试》真题
2021年(下午)一级注册结构工程师《 专业考试》真题
2022年(上午)一级注册结构工程师《 专业考试》真题
2022年(下午)一级注册结构工程师《 专业考试》真题
2023年(上午)一级注册结构工程师《 专业考试》真题
2023年下午)一级注册结构工程师《 专业考试》真题
2024年(上午)一级注册结构工程师《 专业考试》真题
2024年(下午)一级注册结构工程师《 专业考试》真题