单选

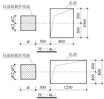
假定,楼板板厚h0=120mm,楼板开洞且孔洞至局部荷载边缘的距离为500mm,局部荷载和孔洞如题图所示,图中两种情况除孔洞尺寸外,其余条件均相同,图一、图二中板受该局部荷载冲切的承载力计算时取用的计算截面周长分别为um1、um2。试问,下列何项符合《混凝土结构设计规范》(GB 50010—2010)(2015年版)的规定?(  )

A um1=um2
B um1>um2
C um1<um2
D 无法确定

正确答案
A
查看解析

相关试题

单选
下列何项说法违反国家现行标准的相关规定?( ) I.Q235及Q345钢材均应符合《低合金高强度结构钢》GB/T 1591的规定; Ⅱ.手工焊时,Q345钢之间
A I、Ⅱ B Ⅱ、Ⅲ C I、Ⅲ D I、Ⅱ、Ⅲ
查看
单选
下列关于混凝土结构工程施工的观点,何项符合《混凝土结构工程施工规范》(GB 50666—2011)的规定?( ) Ⅰ.楼面梁纵筋可采用电渣压力焊进行连接; Ⅱ.
A Ⅰ、Ⅲ B Ⅱ、Ⅲ C Ⅰ、Ⅳ D Ⅱ、Ⅳ
查看
单选
试问,下列何项说法不符合《木结构设计标准》(GB 50005—2017)的规定?( )
A 方木、原木作为主要的承重构件时,应采用针叶材 B 对原木构件,验算挠度和稳定时可取构件的中央截面,验算抗弯强度时可取弯矩最大截面 C 抗震设防烈度为8、9度时,不应采用结构布置不规则的纯木结构 D 采用方木、原木制作桁架时,应按桁架跨度的1/200起拱
查看
单选
试问,根据《砌体结构设计规范》(GB 50003—2011),关于砌体和钢筋混凝土构造柱组合墙结构房屋,下列说法有几项正确?( ) I.组合墙中的构造柱可提高墙
B 1 C 2 D 3
查看
单选
某现浇普通钢筋混凝土框架结构,标准设防类,设防烈度8度,不考虑竖向地震。某中间层边柱框架节点核心区如题图所示,楼板厚120mm,框架柱及节点核心区混凝土强度等级
A 3600kN B 4300kN C 5400kN D 6500kN
查看
单选
某现浇普通钢筋混凝土框架-剪力墙结构的底层剪力墙,安全等级二级,墙高H=3.0m,混凝土强度等级为C30(fc=14.3N/mm2),钢筋采用HRB400,截面
A 600mm B 950mm C 1250mm D 1550mm
查看
单选
某现浇普通钢筋混凝土剪力墙结构,抗震等级为二级,各墙肢稳定均满足要求。底层混凝土强度等级为C40(fc=19.1N/mm2)。假定,底层某四片剪力墙Q1、Q2、
A Q1 B Q2 C Q3 D Q4
查看
单选
某普通钢筋混凝土柱,安全等级二级,设计、施工均满足国标要求。经现场检测,原柱截面尺寸为300mm×300mm,混凝土强度等级为C30(fc0=14.3N/mm2
A 8<img border="0" alt="" src="https://tuku.weimei168.com/uploads/upimg/20251103/24071260_0_4.png">12 B 8<img border="0" alt="" src="https://tuku.weimei168.com/uploads/upimg/20251103/24071260_0_5.png">14 C 8<img border="0" alt="" src="https://tuku.weimei168.com/uploads/upimg/20251103/24071260_0_6.png">16 D 8<img border="0" alt="" src="https://tuku.weimei168.com/uploads/upimg/20251103/24071260_0_7.png">18
查看
单选
某普通钢筋混凝土悬挑桁架,安全等级二级,计算简图如题图所示,混凝土强度等级为C40(fc=19.1N/mm2、ft=1.71N/mm2),纵筋采用HRB500。
A 105N/mm2 B 150N/mm2 C 200N/mm2 D 250N/mm2
查看
单选
某普通钢筋混凝土悬挑桁架,安全等级二级,计算简图如题图所示,混凝土强度等级为C40(fc=19.1N/mm2、ft=1.71N/mm2),纵筋采用HRB500。
A N=640kN;V=-140kN B N=640kN;V=-260kN C N=290kN;V=-140kN D N=290kN;V=-260kN
查看
刷题小程序
(结构) 专业考试一级题库小程序