单选

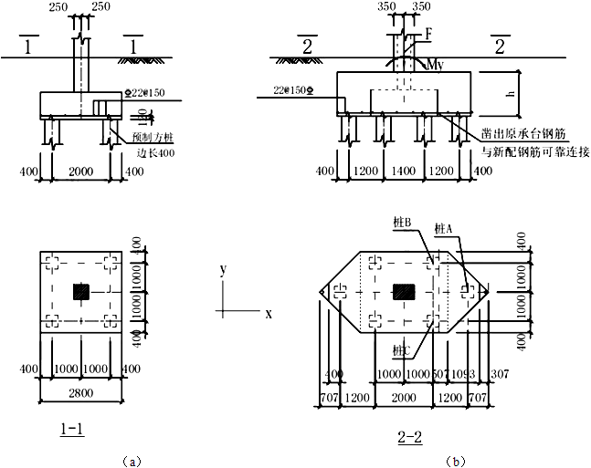
不定项选择题 某办公楼采用框架结构,预制方桩基础,安全等级二级。其中一框架桩截面500mm×500mm,承台尺寸及桩的布置如图(a)所示。承台混凝土C30(ft=1.43N/mm2),承台底面配置双向22@150mm钢筋(As=2534mm2/m,fy=360N/mm2,as=1200mm)。当基础施工完成时,工程进行了建筑方案调整,此框架柱因内力增大,截面调整为500mm×700mm,并在原承台边补了2根同规格的预制方桩,假定,承台所有混凝土结构合面均进行妥善处理,可按一次整体浇筑C30混凝土考虑,如图(b)所示。


假定,不计承台和其上土重,相应于荷载的基本组合,作用于桩A顶部的竖向力为1030kN,作用于桩B、桩C顶部的竖向力均为959kN,非地震工况起控制作用。试问,要求改造后的承台x方向的受力钢筋不需加强时,改造后的承台高度的最小值h,与下列何项数值最为接近?( )
提示:①不验算剪切、冲切承载力;
②钢筋配置可按《建筑地基基础设计规范》(GB 50007—2011)的基础底板配筋简化公式计算。

A 1400mm
B 1500mm
C 1600mm
D 1700mm

正确答案
B
查看解析

相关试题

单选
不定项选择题 关于地基基础检验与监测的下列各项说法,有几项符合《建筑地基基础设计规范》(GB 50007—2011)的规定?( ) Ⅰ.基桩验收检验静载荷试验最
B 1 C 2 D 3
查看
单选
不定项选择题 关于地基基础设计的下列各项说法,有几项符合《建筑地基基础设计规范》(GB 50007—2011)规定?( ) Ⅰ.C15毛石混凝土基础,相应于作用
B 1 C 2 D 3
查看
单选
不定项选择题 关于高层混凝土结构抗震性能化设计,下列各项说法与《建筑抗震设计规范》(GB 50011—2010)(2010年版)的规定不符?( ) Ⅰ.抗震性能
A Ⅰ、Ⅱ不符合 B Ⅰ、Ⅲ符合 C Ⅱ、Ⅳ不符合 D 全不符合
查看
单选
不定项选择题 关于高层民用建筑混凝土结构,下列何项说法与《高层建筑混凝土结构技术规程》(JGJ 3—2010)的规定不符?( )
A 对于框架结构,影响结构层间弹塑性位移角限值[θp]的因素有很多,其中轴压比和配箍率是两个重要的影响因素 B 结构扭转位移比计算应采用“规定水平地震力”,且应考虑偶然偏心影响;楼层层间最大水平位移与层高之比计算时,应采用地震作用标准值,可不考虑偶然偏心影响 C 验算弹性层间位移角(Δu/h)是否满足限值要求时,第i层最大层间位移Δui是指第i层与第i-1层在楼层平面各处水平位移的最大值之差 D 重点设防类高层建筑应按高于本地区抗震设防烈度一度的要求加强其抗震措施,但抗震设防烈度为9度时按比9度更高的要求采取抗震措施;标准设防类高层建筑,当建筑场地为Ⅰ类时,应允许比本地区抗震设防烈度降低一度的要求采取抗震构造措施,但6度时不应降低
查看
单选
不定项选择题 某12层钢筋混凝土框架结构,质量、侧向刚度沿竖向分布可视为均匀,首层层高5米,其余各层为4米,各层重力荷载设计值之和为∑Gj=4×10^5kN,该
A 1 B 1.1 C 1.2 D 1.3
查看
单选
不定项选择题 某38层现浇框架-核心筒高层办公楼,标准设防类,安全等级一级,如图所示。内筒为钢筋混凝土筒体,外框柱采用型钢混凝土柱,楼面梁为钢筋混凝土梁,房屋高
A 16<img border="0" alt="" src="https://tuku.weimei168.com/uploads/upimg/20251103/22417325_0_2.png">25,<img border="0" alt="" src="https://tuku.weimei168.com/uploads/upimg/20251103/22417325_0_3.png">10@100 B 16<img border="0" alt="" src="https://tuku.weimei168.com/uploads/upimg/20251103/22417325_0_4.png">25,<img border="0" alt="" src="https://tuku.weimei168.com/uploads/upimg/20251103/22417325_0_5.png">12@100 C 16<img border="0" alt="" src="https://tuku.weimei168.com/uploads/upimg/20251103/22417325_0_6.png">22,<img border="0" alt="" src="https://tuku.weimei168.com/uploads/upimg/20251103/22417325_0_7.png">10@100 D 16<img border="0" alt="" src="https://tuku.weimei168.com/uploads/upimg/20251103/22417325_0_8.png">22,<img border="0" alt="" src="https://tuku.weimei168.com/uploads/upimg/20251103/22417325_0_9.png">12@100
查看
单选
不定项选择题 某38层现浇框架-核心筒高层办公楼,标准设防类,安全等级一级,如图所示。内筒为钢筋混凝土筒体,外框柱采用型钢混凝土柱,楼面梁为钢筋混凝土梁,房屋高
A 1/140 B 1/160 C 1/170 D 1/180
查看
单选
不定项选择题 某38层现浇框架-核心筒高层办公楼,标准设防类,安全等级一级,如图所示。内筒为钢筋混凝土筒体,外框柱采用型钢混凝土柱,楼面梁为钢筋混凝土梁,房屋高
A 1280kN·m B 1360kN·m C 1400kN·m D 1500kN·m
查看
单选
不定项选择题 某38层现浇框架-核心筒高层办公楼,标准设防类,安全等级一级,如图所示。内筒为钢筋混凝土筒体,外框柱采用型钢混凝土柱,楼面梁为钢筋混凝土梁,房屋高
A 框架二级,核心筒二级 B 框架一级,核心筒二级 C 框架特一级,核心筒一级 D 框架一级,核心筒特一级
查看
单选
不定项选择题 某38层现浇框架-核心筒高层办公楼,标准设防类,安全等级一级,如图所示。内筒为钢筋混凝土筒体,外框柱采用型钢混凝土柱,楼面梁为钢筋混凝土梁,房屋高
A 选项(A) B 选项(B) C 选项(C) D 选项(D)
查看
刷题小程序
(结构) 专业考试一级题库小程序