首页
考研
最新考研题库
中外美术史23新版
建筑类
二级建造师
一级建造师
一级造价工程师
监理工程师
安全工程师
一级消防工程师
消防设施操作员
医学类
主治类
执业药师
护师(初级)资格证考试
主管护师(中级)资格证考试
护士资格证考试
医师类
中药学类
金融类
基金从业资格
银行从业资格
证券从业资格
期货从业资格
银行招聘考试
财会类
初级经济师
中级经济师
初级会计师
中级会计师
注册会计师
税务师
资产评估师
教师类
中学教师笔试
小学教师笔试
幼儿教师笔试
幼儿结构化面试
幼儿专业面试
中小学结构化面试
学历提升
成考(专升本)
成考(高起本、高起专)
自考
网校课程
登录
注册好礼
我的主页
我的提问
我的回答
退出
当前位置:
首页
>
电气工程师公共基础(基础考试)
>
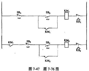
单项选择题 如图7-47所示的控制电路中,交流接触器KM1、KM2分别控制电动机M1和M2,以下叙述正确的是()。 A.
单选
单项选择题 如图7-47所示的控制电路中,交流接触器KM1、KM2分别控制电动机M1和M2,以下叙述正确的是()。
A.M1,M2可以独立运行,互不影响 B.M1起动后,M2才能起动
C.先将M1起动,随后M2自行起动 D.先将M2起动,M1不能自行起动
A A
B B
C C
D D
E E
正确答案
B
查看解析
搜索
相关试题
单选
单项选择题 在正常照度下,人眼的最小分辨角(对黄绿色光)θ0=2.3×10-4rad。两物点放在明视距离25cm处,要想能分辨两物点,则两物点应相距( )cm。
A A B B C C D D E E
查看
单选
单项选择题 下列说法正确的是()。 A. 一个触发器可以有一个输出端,也可以有两个输出端 B.触发器两个输出端的电平可以相同,也可以相反 C.时钟信号决定了触发
A A B B C C D D E E
查看
单选
单项选择题 设受力在弹性范围内,问空心圆杆受轴向拉伸时,外径与壁厚的下列四种变形关系中正确的为( )。 A.外径和壁厚都增大 B.外径和壁厚都减小 C.外径减小
A A B B C C D D E E
查看
单选
单项选择题 下列关于信号的说法,不正确的是()。 A.信号是信息的表现形式 B.时间信号可分为连续时间信号和数字信号 C.信号可分为周期信号和非周期信号 D.声
A A B B C C D D E E
查看
单选
单项选择题 如图5-17所示,已知平面图形的形心为C,面积为A,对z轴的惯性矩为Iz,对图形z1轴的惯性矩有四种答案为( )。 A. Iz + b2A B. I
A A B B C C D D E E
查看
单选
单项选择题 图4-46所示机构中,杆AB的运动形式为( )。 A.定轴转动 B.平行移动 C.平面运动 D.以O为圆心的圆周运动
A A B B C C D D E E
查看
单选
单项选择题 如图5-20所示,为直角三角形ABD斜边上的中点,y,z轴为过中点O且分别平行于两条直角边的两根轴,关于惯性积和惯性矩为()。 A.Iyz>0 B.
A A B B C C D D E E
查看
单选
单项选择题 如图7-8所示,两电路相互等效,由图(b)知,流经10Ω电阻的电流IR=1A, 由此可求得流经图(a)电路中10Ω电阻的电流I等于( )。 A. 1
A A B B C C D D E E
查看
单选
单项选择题 电路如图7-30所示,开关S闭合前电路已达稳态,t=0时S闭合,电路的时间常数τ等于()。
A A B B C C D D E E
查看
单选
单项选择题 如果计算机字长是8位,那么-25的补码表示为()。 A.00011001 B.11100111 C.10100101 D.00100101
A A B B C C D D E E
查看
刷题小程序
热门试卷
电气工程师《公共基础》模拟卷1
电气工程师《公共基础》模拟卷2
电气工程师《公共基础》模拟卷3
电气工程师《公共基础》模拟卷4
电气工程师《公共基础》模拟卷5
电气工程师《公共基础》模拟卷6
电气工程师《公共基础》模拟卷7
电气工程师《公共基础》模拟卷8
电气工程师《公共基础》预测卷1
电气工程师《公共基础》预测卷2
电气工程师《公共基础》预测卷3
电气工程师《公共基础》预测卷4
电气工程师《公共基础》预测卷5
电气工程师《公共基础》预测卷6