分析

案例题 某煤矿主斜井井筒设计斜长为1750m,倾角16°,直墙半圆拱形断面,净宽为5.4m,净高为4.0m,净断面为18.5m2。主斜井明槽段40m,冻结段双层井壁224m,壁座10m,基岩段1476m。井筒基岩段为锚杆金属网喷射混凝土支护,其余部分为钢筋混凝土支护。井筒预计穿越3 个煤层,最大涌水量为20m3/h,矿井为高瓦斯矿井。
某施工单位承担该斜井的施工,制定了施工方案,部分内容如下:
井筒冻结段采用EBZ-200 综掘机掘进和装岩,钢丝绳牵引箕斗有轨运输出矸,工字钢支架初次支护,每掘进8m 砌筑一次外壁,外壁砌筑采用模板台车施工,内壁砌筑根据地质条件分段自下而上进行。
井筒基岩段采用钻眼爆破法施工,中深孔光面爆破,炮孔深度2.7m,炸药选用第三类炸药、药卷直径φ32mm,起爆器材为煤矿许用毫秒延期电雷管,总延期时间150ms,全断面一次爆破。工作面采用凿岩台车打眼,钻头直径φ42mm;利用凿岩台车搭设简易脚手架。自上而下进行装药连线;采用反向装药结构,串并联连线方式。
爆破作业严格按爆破图表执行。
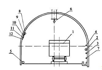
井筒内布置一套单钩配非摘挂钩式箕斗进行提升运输,距离工作面100m 处的斜井基岩段施工断面布置如下图所示。
斜井井筒施工断面布置图

1——箕斗;2——压风井;3——排水管;4——供水管;5——混凝土输送管;6——激光指向仪;7——动力电缆;8——照明电缆;9——信号电缆;10——通信电缆;11——瓦斯监控电缆;12——放炮电缆
该斜井基岩段施工防治水坚持“有疑必探”的原则,考虑到井筒最大深度仅为480m,工作面排水选用潜水泵一次性排至地面,减少了中间转水环节。
为了保证提升安全,施工组织设计中规定了阻车器、防止跑车装置和跑车防护装置的设置要求。
在斜井工程中间验收时,监理单位对喷射混凝土的强度提出了疑问,施工单位与监理在不破坏喷射混凝土井壁的情况下进行重新检验,符合规范要求,予以验收。
问题:
1.该斜井井筒至少应设置多少个躲避硐室?
2.指出斜井井筒施工断面布置图中的错误。根据断面的位置,基岩段施工断面布置图中缺少哪些主要施工设备或设施?
3.该斜井基岩段施工存在哪些错误或不合理的地方?给出正确做法。
4.施工组织设计中明确设置的阻车器、防止跑车装置和跑车防护装置都应当安设在什么位置?
5.斜井喷射混凝土井壁无损检测的方法有哪些?

正确答案
1.该斜井井筒至少应设置的躲避硐室数量为:至少43 个。根据规定,斜井施工期间兼作人行道时,必须每隔40m 设置一个躲避硐室,1750/40=43.75 个。
2.斜井井筒施工断面布置图中的错误有:(1)动力电缆位置不正确。电缆与压风管、供水管在巷道同一侧布置时,必须敷设在管路上方0.3m 以上距离。(2)通信和信号电缆位置不正确。巷道内的通信和信号电缆应当与电力电缆分挂在巷道的两侧,挂在一侧时应当敷设在电力电缆上方0.1m 以上的位置。(3)放炮电缆悬挂不正确。放炮电缆应单独悬挂且离其他电缆距离在0.3m 以上。(4)布置一套提升运输系统不合理。应增加布置一套辅助提升系统。根据断面的位置,基岩段施工断面布置图中缺少的主要施工设备或设施有:行人台阶、
扶手及风筒,行人运输车。
3.该斜井基岩段施工存在的错误或不合理地方及正确做法;(1)高瓦斯矿井选用第三类炸药错误。正确做法:应选用第一类炸药。(2)毫秒延期电雷管的总延期时间为150ms 错误。正确做法:总延时时间应为130ms。
(3)采用反向装药结构不正确。正确做法:应采用正向装药结构。(4)工作面排水选用潜水泵一次性排至地面不合理。正确做法:应采用分级排水,并在工作面后面设置临时水仓,中间分级位置设置截水沟槽。
4.在斜井上口入口前设置阻车器,在变坡点下方略大于一列车长度的地点,设置能够防止未连挂的车辆继续往下跑的挡车栏,在下部装车点上方再设置一套挡车栏,除此之外,还必须安设能够将运行中断绳、脱钩的车辆阻止的防跑车防护装置。巷道中部按需要再设置若干挡车栏。上述跑车防护装置必须是常闭状态放车时方准打开。
5.斜井喷射混凝土井壁无损检测的方法,包括回弹法、超声脉冲法、超声回弹综合法等。
查看解析

相关试题

单选
下列关于副井利用永久井架凿井,对永久井架改造工作不符合要求的是()。
A 新增设提升平台 B 增设卸矸平台 C 增加稳定性杆件 D 增设平台与井架主体焊接
查看
单选
地面工程施工在岩层中可以使用锚杆加固岩层,通常岩石锚杆的孔径为()mm。
A 10~30 B 30~40 C 100 D 150
查看
单选
通常,斜井施工的正常开挖阶段顺序是()。
A 表土暗挖一基岩掘进一表土明挖 B 表土明挖一基岩掘进一表土暗挖 C 基岩掘进一表土明挖一表土暗挖 D 表土明挖一表土暗挖一基岩掘进
查看
单选
工序能力状态一般用工序能力指数表达,下列与该指数大小无关的是()。
A 工序质量特性的标准标准差 B 允许公差上限 C 允许公差下限 D 工序质量方差
查看
单选
矿山井巷浅孔爆破的盲炮处理过程中,平行孔距盲炮不应( )m。
A <0.3 B >0.3 C <0.5 D >0.5
查看
单选
正确处理矿业工程项目的风险方法包括()。
A 风险费应在发现风险的施工过程中及时提出 B 风险项目应列入分部分项工程清单 C 存在风险时必须设风险费 D 风险费的大小一般没有上限
查看
单选
井下水文地质观测中,突水量为80m3/h的突水点,则该突水点的等级为( )。
A 小突水点 B 中等突水点 C 大突水点 D 特大突水点
查看
单选
关于民用爆破器材许可证制度的说法,错误的是( )。
A 民用爆炸物品生产单位,必须办理生产许可证 B 民用爆炸物品销售单位,必须办理销售许可证 C 民用爆炸物品的收货单位,必须办理运输许可证 D 民用爆炸物品的使用单位,必须办理储存许可证
查看
单选
在井巷工程的巷道施工中,对围岩层间分离情况的监测,通常使用()进行用于巷道顶板,特别受采动影响的顶板活动情况的测量。
A 离层仪 B 光电测距仪 C 经纬仪 D GPS
查看
单选
在矿业工程中,下列措施能提高混凝土耐久性的是( )。
A 在混凝土配合比中加入大量的矿物掺合料 B 保证水泥足量和采用较大的水灰比 C 限制最大水灰比和最大水泥用量 D 采用级配好且干净的砂、石骨料,并选用粒径较大或适中的砂、石骨料
查看
刷题小程序
矿业工程管理与实务题库小程序