分析

案例题 某施工单位承担一矿山主立井的施工任务。该井筒净直径5.5m,深度573m。其中表土段深度440m,井壁厚度800mm,采用冻结法施工;基岩段井壁厚度500mm,混凝土强度等级为C40,采用普通钻眼爆破法施工。
施工单位编制了井筒的施工组织设计,凿井施工设备选型情况如下:
1.凿岩:选用国产FJD-6 伞型钻架,配YGZ-70 型凿岩机。
2.装岩:布置2 台HZ-6 中心回转抓岩机,装矸能力可达100m3/h。
3.提升:采用Ⅴ型钢管凿井井架,布置两套单钩提升,主提选用2JK-3.2/15 提升机配3.0m3吊桶,副提选用JK-2.5/20 提升机配2.0m3吊桶。
4.砌壁:基岩段采用段高4.0m 整体金属模板,选用φ159×5mm 溜灰管下料。
5.排水:布置1 台DC50-80×7 型卧泵(含排水管路一趟)和4m3水箱1 个。
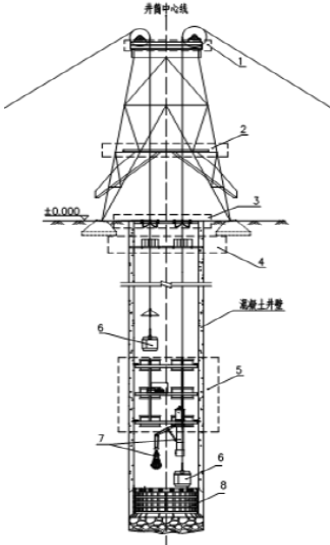
凿井施工设备或设施除压风管、供水管采用井壁吊挂外,风筒、电缆等均采用凿井绞车悬吊,凿井施工设备及设施布置如图1 所示。

图1 凿井施工设备及设施布置示意图
问题:
1.写出图1 中序号1~5 对应虚线框内的凿井施工盘台名称。
2.说明图1 中盘台5 的作用,写出应布置在该盘台上的相应设备或设施。
3.写出图1 中序号6~8 对应设备设施的名称,给出背景资料(含图1 所示)缺少的安全设施或设备的名称。
4.指出该井筒施工设备选型存在的不妥之处。说明理由或正确做法。

正确答案
1.1-天轮平台,2-卸矸平台(翻矸台),3-封口盘,4-固定盘,5-吊盘。
2.(1)盘台5 的主要作用:保护井下安全施工、拉紧稳绳、安装中心回转式抓岩机、作为浇筑井壁的工作平台,采用卧泵排水时还需要在吊盘上安装卧泵和水箱。。
(2)所布置的设备:抓岩机、卧泵、水箱、信号室、分灰器。
3.(1)6~8 对应设备:6-矸石吊桶,7-中心回转抓岩机,8-整体金属模板;
(2)缺少的安全设施:安全梯。
4.不妥之处一:布置2 台HZ-6 中心回转抓岩机不妥。
理由:净直径大于6.5m 的井筒宜装备两台抓岩机。该井筒净直径5.5m,布置一台抓岩机即可满足施工要求。
不妥之处二:砌壁采用φ159×5mm 溜灰管下料不妥。
理由:混凝土强度等级大于C40 或者输送深度大于400m 时,不得采用溜灰管输送。本工程井筒深度为573m且混凝土强度等级为C40,应采用底卸式吊桶下料。
不妥之处三:布置1 台DC50-80×7 型卧泵(含排水管路一趟)不妥。
理由:水泵和排水管路都应当有工作和备用。水泵扬程应满足井筒深度且应留有余量。
查看解析

相关试题

单选
下列矿山工业场地内的建筑物,属于行政福利设施的是()。
A 井口房 B 矿灯房 C 供热管线 D 尾矿泵站
查看
单选
矿业工程测量中,通过用一个立井或通过两个立井的定向,称之为( )。
A 参照物定向 B 物理定向 C 几何定向 D 对比定向
查看
单选
矿井水害的防治必须坚持()的原则。
A 配足排水设备 B 边探边掘 C 保证水沟畅通 D 先探后掘
查看
单选
关于矿山防治水工作原则的内容,正确的是以( )为先。
A 先探后掘 B 有疑必探 C 预测预报 D 先治后采
查看
单选
爆破法处理卡在溜煤(矸)孔中的煤、矸时,每次只准使用一个煤矿许用电雷管,最大装药量不应超过()。
A 450g B 500g C 1000g D 2000g
查看
单选
地面工业建筑砌体的( )是砌体结构构件承载能力的主要指标。
A 抗拉能力 B 抗压强度 C 抗剪能力 D 砂浆强度等级
查看
单选
矿业工程项目合同价款调整中,出现合同价款调减事项(不含工程量偏差、施工索赔)后的( )d内,发包人应向承包人提交合同价款调减报告并附相关资料。
A 5 B 7 C 10 D 14
查看
单选
矿山地质中,关于地层结构和地质构造表示方法的说法错误的是( )。
A 等高线密集程度发生变化,表示矿体倾角发生变化 B 正断层表现为等高线缺失,逆断层表现为等高线重叠 C 区分巷道相交和相错主要是通过两条巷道内导线点标高间的关系 D 在采掘工程平面图上两条巷道相交,若交点标高相同,则它们是相错的
查看
单选
下列常用的矿业工程测量仪器中,用于测量两点之间高差的仪器是( )。
A 水准仪 B 经纬仪 C 全站仪 D 光电测距仪
查看
单选
高瓦斯矿井应使用哪一级煤矿许用炸药()。
A 一级 B 二级 C 三级 D 四级
查看
刷题小程序
矿业工程管理与实务题库小程序