分析

案例题 南方某以防洪为主,兼顾灌溉、供水和发电的中型水利工程,需进行扩建和加固,其中两座副坝
(1 号和 2 号)的加固项目合同工期为 8 个月,计划当年 11 月 10 日开工。副坝结构形式为黏土心墙土石坝。承包人拟定的施工进度计划如图 1 所示。

说明:1.每月按 30 天计,时间单位为天
2.日期以当日末为准,如 11 月 10 日开工表示 11 月 10 日末开工。
实施过程中发生了如下事件:
事件 1:按照 12 月 10 日上级下达的水库调度方案,坝基清理最早只能在次年 1 月 25 日开始。
事件 2:根据防洪要求,坝坡护砌迎水面施工最迟应在次年 5 月 10 日完成。
坝坡迎水面与背水面护砌所需时间相同,按先迎水面后背水面顺序安排施工。
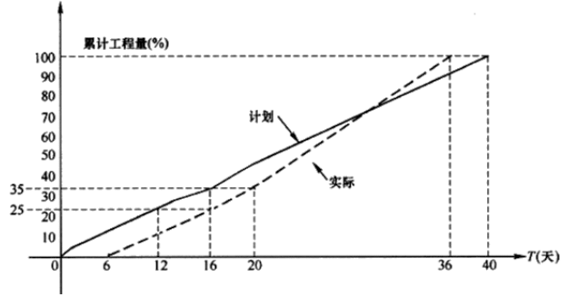
事件 3:“2 号副坝填筑”的进度曲线如图 2 所示。
事件 4:次年 6 月 20 日检查工程进度,1 号、2 号副坝坝顶道路已完成的工程量分别为 3/5、2/5。
图 2“2 号副坝填筑”进度曲线

【问题】
1.根据《水利水电工程施工组织设计规范》,指出工程施工总工期包括哪些施工时段,除了该题目中的进度表达方法以外还包括哪些。
2.根据水库调度方案和施工进度安排,分别指出 1 号、2 号副坝坝基清理最早何时开始?
3.根据防洪要求(和水库调度方案),两座副坝的坝坡护砌迎水面护砌施工何时能完成?可否满足 5 月 10 日完成的要求?
4.依据事件 3 中 2 号副坝填筑进度曲线,分析在第 16 天末的计划进度与实际进度,并确定 2 号副坝填筑实际用工天数。
5.(根据防洪要求和水库调度方案),根据 6 月 20 日检查结果,分析坝顶道路施工进展状况;若未完成的工程量仍按原计划施工强度进行,分析对合同工期的影响。
6.指出大坝防汛抢险施工的抢护原则,常见的几种险情种类以及在填筑前地面起伏不平时的注意事项。 

正确答案
1.(1)工程施工总工期包括工程准备期、主体工程施工期和工程完建期。
(2)除了该题目中的进度表达方法以外还包括:横道图、施工进度管理控制曲线、形象进度图、双代号时标网路图。
2.根据施工进度安排:1 号副坝坝基清理可在次年 1 月 20 日开始;2 号副坝坝基清理可在次年 2月 5 日开始;综合考虑水库调度方案,1 号、2 号副坝坝基清理最早分别于次年 1 月 25 日、次年 2 月5 日开始。
3.按计划 1 号、2 号副坝坝坡护砌迎水面施工可于 5 月 5 日、5 月 10 日完成,可满足要求。
4.2 号副坝填筑第 16 天末计划进度为 35%,实际进度为 25%,累计工程量拖延 10%,进度滞后 4天,实际用工 30 天。
5.6 月 20 日检查,1 号副坝坝顶道路已完成 3/5,计划应完成 4/5,推迟 5 天。
2 号副坝坝顶道路已完成 2/5,计划应完成 2/3,推迟 4 天。
由于计划工期比合同工期提前 5 天,而 1 号副坝推迟工期也为 5 天,故对合同工期没有影响。
6.(1)防汛抢险施工的抢护原则:前堵后导、强身固脚、减载平压、缓流消浪。
(2)常见的险情种类:漏洞、管涌、漫溢、决口、崩岸等。
(3)地面起伏不平时,应按水平分层由低处开始逐层填筑,不得顺坡铺填;堤防横断面上的地面坡度陡于 1:5 时,应将地面坡度削至缓于 1:5。
查看解析

相关试题

单选
下列混凝土温控术语中,属于混凝土下料后平仓前测得深5~10cm处的温度表述的是( )。
A 绝热温升 B 浇筑温度 C 出机口温度 D 入仓温度
查看
单选
下列关于特征库容、水力荷载说法,正确的是( )。
A 地震作用属于可变荷载 B 2 级水闸其钢筋混凝土闸室在基本荷载组合下,其安全系数 K 最小值为 1.20 C 悬臂式挡土墙的受力分析中包括墙后被动土压力 D 结合库容是水库正常蓄水位与防洪高水位之间的库容
查看
单选
下列关于电力起爆法的说法中,正确的是( )。
A 用于同一起爆网路内的电雷管的电阻值最多只能有两种 B 网路中的支线、区域线联接前各自的两端不允许短路 C 雷雨天严禁采用电爆网路 D 通电后若发生拒爆,应立即进行检查
查看
单选
将某些填料如砂、碎石或生石灰等用冲击、振动或两者兼而有之的方法压入土中,形成一个个的柱体,将原土层挤实,从而增加地基强度的一种方法的是( )。
A 灌浆 B 置换法 C 排水法 D 挤实法
查看
单选
根据《水利水电建设工程验收规程》,下列不属于法人验收的是( )。
A 分部工程验收 B 单位工程验收 C 合同工程完工验收 D 阶段验收
查看
单选
某水工隧洞围岩总评分为85分,则该围岩为( )类。
A I B II C III D IV
查看
单选
根据《水利部办公厅关于调整水利工程计价依据增值税计算标准的通知》(办财务函〔2019〕448号),计算材料单价时,钢筋应除以( )的调整系数。
A 1.02 B 1.03 C 1.09 D 1.13
查看
单选
防洪标准大于100年的堤防工程的级别是( )。
A 一级 B 二级 C 四级 D 五级
查看
单选
如用冷拉方法调直钢筋,则其调直冷拉率不得大于( )。
A 1% B 2% C 3% D 4%
查看
单选
根据《水利水电工程施工组织设计规范》(SL 303—2017),生产能力为1 200 t/h的砂石料加工系统规模为( )。
A 大型 B 中型 C 小(1)型 D 小(2)型
查看
刷题小程序
水利水电工程管理与实务题库小程序