分析

案例题 某安装公司承接一35kV 电力架空线路工程,线路长度23km,跨越公路、河流、铁路,沿线海拔1000~2000m,属于覆冰区,工程合同价为3000 万元。安装公司对工程人工费、材料费、机械费等费用进行测算,给项目部下达的目标成本为2760 万元。
项目部根据工程实际情况,优化施工方案,做好成本控制,严格控制质量,按项目成本的分类编制了计划成本,计划成本为2540 万元,并制订了突发事件的应急预案;施工过程中加大了成本控制力度,完工后,实际成本为2500 万元,取得了较好的经济效益。
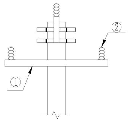
电杆及附件安装如图3 所示;电杆、架空线、接地等验收合格,工程施工质量优良,线路试验满足验收规范要求,工程资料档案符合要求。

问题:
1.简述架空线路的一般施工程序。线路试验的内容有哪些?
2.本架空线路施工过程中,可能的发生突发事件有哪些?施工现场危险源的构成要素有哪些?
3.说明图中①、②部件的名称及作用。
4.计算项目计划成本降低率和实际成本降低率。控制施工成本应如何优化施工方案?

正确答案
1.(1)架空线路施工的一般程序:线路测量→基础施工→杆塔组立→放线架线→导线连接→线路试验→竣工质量检查。
(2)线路试验包括:测量绝缘子和线路的绝缘电阻;测量线路的工频参数;检查线路两侧相位;额定电压下的冲击合闸试验;杆塔接地电阻测量;导线接头测试。
2.(1)架空线路施工过程中可能发生的突发事件:高空物体打击事件、高处坠落事件、缺氧和冻伤环境事件等。
(2)危险源由三个要素构成:潜在危险性,存在条件,触发因素。
3.①是横担,用来固定绝缘子架设导线,也可用来固定开关或避雷器设备等。
②是绝缘子,用来支持固定导线,对地绝缘,承受导线的垂直荷重和水平拉力。
4.(1)计划成本降低率=(目标成本-计划成本)/目标成本=(2760-2540)/2760=7.97%
实际成本降低率=(目标成本-实际成本)/目标成本=(2760-2500)/2760=9.42%
(2)优化施工方案,对施工方法、施工顺序、机械设备的选择、技术组织措施、商务招采措施等方面进行认真研究分析,运用价值工程理论,制定出技术先进、经济合理的施工方案。
查看解析

相关试题

单选
光学经纬仪的主要功能不包括( )。
A 测量纵、横中心线 B 平面控制网的测量 C 柱安装垂直度测量 D 水平距离测量
查看
单选
高强度大六角头螺栓连接副终拧扭矩检查,宜在螺栓终拧1h后、24h之前完成检查。可采用的方法是( )。
A 转角法 B 统计扭断梅花卡头的螺纹数 C 冲击法 D 拉伸法
查看
单选
下列关于消防水泵的调试要求中,说法错误的是( )。
A 手动直接启动消防水泵时,消防水泵应在 55s 内投入正常运 B 以备用电源切换方式启动消防水泵时,消防水泵应在 5min 内投入正常运行 C 消防水泵零流量时的压力不应超过设计额定压力的 140% D 消防水泵出流量为设计额定流量的 150%时,其出口压力不应低于设计额定压力的 65%
查看
单选
采用非金属密封的管道阀门,其公称直径为300mm,阀门强度试验的最短持续时间为()。
A 15s B 30s C 60s D 180s
查看
单选
电动调节阀中的电动执行机构的输出方式不包括()。
A 直行程 B 驱动式 C 角行程 D 多转式
查看
单选
关于金属导管施工要求的说法中,正确的是()。
A 壁厚大于等于2mm的钢导管,可采用对口熔焊连接 B 导管穿越密闭或防护密闭隔墙时,应设置预埋套管 C 塑料导管在墙体上剔槽埋设时,应釆用强度等级不小于M8的水泥砂浆抹面保护 D 暗配导管的表面埋设深度与建筑物、构筑物表面的距离不应小于10mm
查看
单选
关于机电工程常用设备,说法正确的是()。
A 螺旋输送机属于专用设备中的一种 B 锅炉热效率是反应锅炉工作强度的指标 C 核能发电设备包括核岛设备、常规岛设备、辅助系统设备 D 同步电动机具有较大的启动转矩和良好的启、制动性能
查看
单选
变压器的性能参数不包括( )。
A 工作频率 B 额定功率 C 额定电压 D 额定电流
查看
单选
交流单相三孔插座,面对插座板,正确的接线是( )。
A 右孔接零线,左孔接相线,上孔接保护接地线 B 右孔接相线,左孔接中性线,上孔接保护接地线 C 右孔接相线,左孔接保护接地线,上孔接零线 D 右孔接零线,左孔接保护接地线,上孔接相线
查看
单选
消火栓系统施工程序中,箱体稳固之前的工序是()。
A A,系统调试 B 干管安装 C 施工准备 D 支管安装
查看
刷题小程序
机电工程管理与实务题库小程序