首页
考研
最新考研题库
中外美术史23新版
建筑类
二级建造师
一级建造师
一级造价工程师
监理工程师
安全工程师
一级消防工程师
消防设施操作员
医学类
主治类
执业药师
护师(初级)资格证考试
主管护师(中级)资格证考试
护士资格证考试
医师类
中药学类
金融类
基金从业资格
银行从业资格
证券从业资格
期货从业资格
银行招聘考试
财会类
初级经济师
中级经济师
初级会计师
中级会计师
注册会计师
税务师
资产评估师
教师类
中学教师笔试
小学教师笔试
幼儿教师笔试
幼儿结构化面试
幼儿专业面试
中小学结构化面试
学历提升
成考(专升本)
成考(高起本、高起专)
自考
网校课程
登录
注册好礼
我的主页
我的提问
我的回答
退出
当前位置:
首页
>
水利水电工程管理与实务
>
案例题 【背景资料】 某大(2)型水利枢纽工程由拦河坝、溢洪道、泄洪隧洞、发电引水隧洞等组成。 拦河坝为混凝土面板堆石坝
分析
案例题 【背景资料】
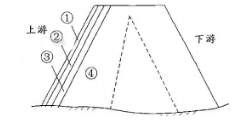
某大(2)型水利枢纽工程由拦河坝、溢洪道、泄洪隧洞、发电引水隧洞等组成。 拦河坝为混凝土面板堆石坝,坝高 80m。拦河坝断面示意图如图 1。
图 1 拦河坝断面示意图
施工过程中发生如下事件:
事件一:施工单位进驻工地后,对石料料场进行了复核,并对堆石料进行了碾压 试验。面板混凝土采用滑动模板施工。
事件二:混凝土面板堆石坝施工完成的工作有:A 为面板混凝土的浇筑:B 为坝 基开挖;C 为堆石坝填筑;D 为垂直缝砂浆条铺设;E 为止水设置。
事件三:混凝土面板施工前,施工单位根据面板的分块情况,并依据下列原则设 计滑动模板:①适应面板条块宽度和滑模平整度要求;②满足施工振捣和压面的需要;
③安装、运行、拆卸方便灵活等。
事件四:混凝土面板设计采用金属止水,施工单位将金属止水采取搭接方式直接 制作及安装。面板混凝土脱模后,立即采取洒水的方法养护,持续养护 90 天。
【问题】
1.指出图 1 拦河坝坝体分区中①~④部位的名称。
2.指出事件一中坝石料复核的主要内容。
3.指出事件二中 A、B、C、D、E 工作适宜的施工顺序(用工作代码和箭线表示)。
4.指出事件三中混凝土滑动模板设计的原则还有哪些。
5.指出事件四中施工方面的不妥之处,并说明正确做法。
正确答案
1.图中拦河坝坝体分区中:①面板,②垫层区,③过渡区,④主堆石区。 2.主要应检查上坝石料的质量、风化程度、石块的重量、尺寸、形状、堆筑过程有无离析架空现象发 生等3.施工顺序:B→C→D→E→A。 4.混凝土滑动模板设计的原则还有: (1)足够的自重和配重 (2)足够的强度、刚度和稳定性,能可靠地承受各项施工荷载,并保证在允许范围内 (3)操作简单,运行稳定,安全可靠,并尽量可能考虑其通用性 5.不妥之处:金属搭接 不妥 理由:应进行焊接
查看解析
搜索
相关试题
刷题小程序
热门试卷