分析

案例题 A 公司承接了一项污水地下泵站工程,合同价2080 万元。泵站埋深15m,现场地层主要为粉砂土,地下水埋深4m,主体结构采用排水下沉沉井施工,沉井构造如图3-1 所示。

施工前,A 公司将沉井混凝土浇筑分包给了B 公司(不含材料和设备),B 公司安排20名工人现场作业;同时,A 公司将泵站水泵安装分包给了C 公司(含材料和设备)。
施工过程中发生了以下事件:
事件一:开工前,A 公司编制了沉井施工方案,其中施工流程如下:地基加固→垫层施工(先铺设D,再铺设E)→F→沉井下沉→沉井接高→接高段下沉→沉井封底。
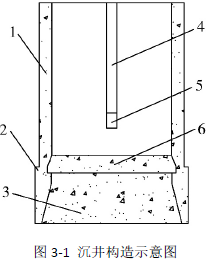
事件二:沉井制作过程中,项目部基于施工现场情况采取了如图3-2 所示的井壁施工示意图。

事件三:沉井下沉时,井壁外侧面阻力随着沉井入土深度的增加而增加,最终沉井难以下沉,项目部采取相应辅助下沉方法解决了沉井下沉问题。此后,进行了沉井封底施工。
事件四:C 公司进场后未安排专职安全员,A 公司要求C 公司整改,但C 公司未予理睬。
在吊装水泵时发生安全事故,造成1 人死亡、2 人重伤,A 公司项目负责人接C 公司报告后,立即组织人员封闭了事故现场,对事故现场进行了清理,组织了事故调查,查清事故原因后继续吊装施工。
【问题】
1.B 公司和C 公司分别为何类分包单位?写出A 公司和B 公司各自至少配备多少项目专职安全员。
2.事件一中,补充沉井施工流程中D、E、F 的名称,并写出沉井接高时接高缝处应如何处理。
3.事件二中,补充图3-1 中构造1、2、3、4、5、6 的名称和图3-2 中部件A、B 的名称。
4.事件三中,写出项目部可采取的沉井辅助下沉方法;沉井下沉到位后刃脚处应做何种处理?沉井封底需要满足什么条件才能封填泄水井?
5.事件四中的安全事故属于何级安全事故?A 公司和C 公司应分别承担何种责任?并改正事故发生后A 公司项目负责人的错误做法。

正确答案
1.(1)B 公司为劳务分包单位;C 公司为专业分包单位。
(2)A 公司至少配备1 名专职安全员;B 公司至少配备1 名专职安全员。
2.(1)D:砂垫层;E:垫木;F:第一节沉井施工(含刃脚部分)。
(2)施工缝处理应采用凹凸缝或设置钢板止水带,施工缝应凿毛并清理干净。
3.(1)1:井壁;2:刃脚;3:垫层;4:隔墙;5:底梁;6:底板。
(2)A:止水片(止水环);B:模板。
4.(1)辅助下沉方法:井壁外侧灌黄砂、触变泥浆套、空气幕。
(2)沉井封底前应用大石块将刃脚下垫实。
(3)沉井封底需要满足的条件:底板混凝土强度达到设计强度等级且满足抗浮要求时,方可封填泄水井、停止降水。
5.(1)一般事故。
(2)C 公司就事故承担主要责任,C 公司与A 公司向建设单位承担连带责任。
(3)改正:①项目负责人应妥善保护现场及相关证据,因抢救伤员、防止事故扩大及疏散交通等原因,需要移动现场的,应当做出标志,绘制现场简图,做出书面记录,妥善保存重要痕迹、物证;②事故应由县级以上人民政府组织事故调查;③事故查清后应履行复工审批手续,经监理单位同意后方可复工。
查看解析

相关试题

刷题小程序
市政公用工程管理与实务题库小程序
热门试卷