分析

案例题 某施工单位中标一污水处理厂升级改造工程,工程包含污水处理设备新增、水池新建及管路改造等内容。其中一新建小型蓄水池为矩形有盖半地下结构,水池立面如图3-1所示。施工单位编制了施工方案,其中包含了工程数量表(表3),项目技术负责人根据施工方案对施工班组长进行了口头安全技术交底。
新建水池位置地质较好,地下水位低,无需考虑主动降水,故项目部采用放坡开挖施工,并未设置相应的降排水设施,由于水厂生产原因致使施工拖延至雨季才开始进行施工,造成施工难度加大,项目部采取了基坑内外的截、排水措施后开始进行水池主体结构施工。



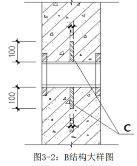
项目部根据规范要求在池壁和顶板、底板相接处设置了施工缝,并在其中安放了金属止水带,项目部在技术交底中要求止水钢板不得有孔洞,安装应牢固,位置准确。并且在池壁预留孔位置设置了结构B,其结构大样如图3-2所示。水池浇筑后拆模时发现局部位置出现了露筋,监理单位要求施工单位进行整改。

<1>.请写出工程数量表中A、B的名称。
<2>.简述项目部可采取的雨期基坑内外的截、排措施有哪些?
<3>.根据《给水排水构筑物工程施工及验收规范》GB 50141-2008规定,该水池池壁与底部、顶部相接部位的施工缝应在何处设置?
<4>.简述图3-2中结构C的名称及作用。
<5>.试分析造成水池露筋的原因有哪些?

正确答案
<1>.A——维修孔(人孔);B——穿墙止水套管。
<2>.基坑内:主体结构周边可设置排水沟及集水井进行降雨引排。
在基坑外:坡顶位置可设置挡水墙及截水沟等设施防止坡顶水流入基坑。
<3>.(1)池壁与底部相接处的施工缝,宜留在腋角上面不小于200mm处;
(2)池壁与顶部相接处的施工缝,宜留在腋角下部。
<4>.C——套管刚性止水环。
其作用为:增大过水路径,防止套管周边渗水,大大增加了渗浸阻力来达到抗渗目的。
<5>.没有安放混凝土垫块、垫块间距过大或者是垫块与钢筋绑扎不牢固、浇筑过程碰撞钢筋造成其位置变动等。
查看解析

相关试题

刷题小程序
市政公用工程管理与实务题库小程序
热门试卷