1.循环水管道管中标高分别为-4.50m和-2.20m,本工程中,管道沟槽实际开挖深度超过5m。(管道外径为1620mm,管中心至管沟底距离为1620/2=810mm,现场原始地面标为±0.00m,最深管道中心标高为-4.50m,因此可以计算出开挖最大深度为4.50+0.81=5.31m)。对照危大工程范围,该工程属于超过一定规模的危险性较大的分部分项工程,按照《危险性较大的分部分项工程安全管理规定》的规定,循环水管道沟槽开挖施工方案的编审程序:
(1)由施工单位(甲公司)组织工程技术人员编制;
(2)由施工单位(甲公司)技术负责人审核签字、加盖单位公章;
(3)由乙公司总监理工程师审查签字、加盖执业印章;
(4)施工单位(甲公司)组织召开专家论证会对专项施工方案进行论证,通过后方可实施。
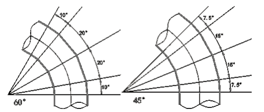
2.按照斜接弯头的组成形式的规定,如下图所示,对公称尺寸大于400mm的斜接弯头可增加中节数量。由此可得45°、60°弯头中间管节角度a值分别为15°、20°。

斜接弯头制作技术要求:
(1)公称尺寸大于400mm的斜接弯头,其内侧的最小宽度不得小于50mm。
(2)斜接弯头的焊接接头应采用全焊透焊缝。当公称尺寸大于或等于600mm时,宜在管内进行封底焊。
(3)当公称尺寸大于1000mm时,斜接弯头的周长允许偏差为±6mm。
3.根据液压试验的规定,埋地钢管道的试验压力应为设计压力的1.5倍,并不得低于0.4MPa。管道试验压力P=0.25×1.5=0.375MPa<0.4MPa。所以,D1620×12循环水管道试验压力为0.4MPa。
4.项目部将管道沟槽开挖标高控制设置为B级控制点的理由是:沟槽开挖标高偏差超过规范规定,将会影响下道工序——管道安装质量;管道水压试验及冲洗设置为A级控制点的理由是:管道水压试验及冲洗如达不到规范规定,将影响后续相关机组设备的安全运行。