分析

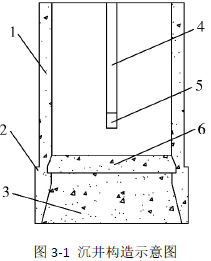
案例题 A 公司承接了一项污水地下泵站工程,合同价2080 万元。泵站埋深15m,现场地层主要为粉砂土,地下水埋深4m,主体结构采用排水下沉沉井施工,沉井构造如图3-1 所示。

施工前,A 公司将沉井混凝土浇筑分包给了B 公司(不含材料和设备),B 公司安排20名工人现场作业;同时,A 公司将泵站水泵安装分包给了C 公司(含材料和设备)。
施工过程中发生了以下事件:
事件一:开工前,A 公司编制了沉井施工方案,其中施工流程如下:地基加固→垫层施工(先铺设D,再铺设E)→F→沉井下沉→沉井接高→接高段下沉→沉井封底。
事件二:沉井制作过程中,项目部基于施工现场情况采取了如图3-2 所示的井壁施工示意图。

事件三:沉井下沉时,井壁外侧面阻力随着沉井入土深度的增加而增加,最终沉井难以下沉,项目部采取相应辅助下沉方法解决了沉井下沉问题。此后,进行了沉井封底施工。
事件四:C 公司进场后未安排专职安全员,A 公司要求C 公司整改,但C 公司未予理睬。
在吊装水泵时发生安全事故,造成1 人死亡、2 人重伤,A 公司项目负责人接C 公司报告后,立即组织人员封闭了事故现场,对事故现场进行了清理,组织了事故调查,查清事故原因后继续吊装施工。
【问题】
1.B 公司和C 公司分别为何类分包单位?写出A 公司和B 公司各自至少配备多少项目专职安全员。
2.事件一中,补充沉井施工流程中D、E、F 的名称,并写出沉井接高时接高缝处应如何处理。
3.事件二中,补充图3-1 中构造1、2、3、4、5、6 的名称和图3-2 中部件A、B 的名称。
4.事件三中,写出项目部可采取的沉井辅助下沉方法;沉井下沉到位后刃脚处应做何种处理?沉井封底需要满足什么条件才能封填泄水井?
5.事件四中的安全事故属于何级安全事故?A 公司和C 公司应分别承担何种责任?并改正事故发生后A 公司项目负责人的错误做法。

正确答案
1.(1)B 公司为劳务分包单位;C 公司为专业分包单位。
(2)A 公司至少配备1 名专职安全员;B 公司至少配备1 名专职安全员。
2.(1)D:砂垫层;E:垫木;F:第一节沉井施工(含刃脚部分)。
(2)施工缝处理应采用凹凸缝或设置钢板止水带,施工缝应凿毛并清理干净。
3.(1)1:井壁;2:刃脚;3:垫层;4:隔墙;5:底梁;6:底板。
(2)A:止水片(止水环);B:模板。
4.(1)辅助下沉方法:井壁外侧灌黄砂、触变泥浆套、空气幕。
(2)沉井封底前应用大石块将刃脚下垫实。
(3)沉井封底需要满足的条件:底板混凝土强度达到设计强度等级且满足抗浮要求时,方可封填泄水井、停止降水。
5.(1)一般事故。
(2)C 公司就事故承担主要责任,C 公司与A 公司向建设单位承担连带责任。
(3)改正:①项目负责人应妥善保护现场及相关证据,因抢救伤员、防止事故扩大及疏散交通等原因,需要移动现场的,应当做出标志,绘制现场简图,做出书面记录,妥善保存重要痕迹、物证;②事故应由县级以上人民政府组织事故调查;③事故查清后应履行复工审批手续,经监理单位同意后方可复工。
查看解析

相关试题

单选
柔性路面在荷载作用下呈现( )特性,在反复荷载作用下产生累积变形。
A 弯沉变形较小、抗弯强度小 B 弯沉变形较大、抗弯强度大 C 弯沉变形较大、抗弯强度小 D 弯沉变形较小、抗弯强度大
查看
单选
使挡土墙结构发生位移最大的土压力是( )。
A 水平土压力 B 静止土压力 C 主动土压力 D 被动土压力
查看
单选
标序号路基可能产生不均匀沉降或不均匀变形时,宜采用的垫层材料是( )。
A 级配粒料 B 二灰稳定粒料 C 沥青贯入碎石 D 贫混凝土
查看
单选
沥青混凝土面层中,直接承受行车荷载作用的是( )。
A 垫层 B 基层 C 面层 D 底基层
查看
单选
沥青道路面层的使用要求指标不包括( )。
A 抗弯能力 B 承载能力 C 透水性 D 平整度
查看
单选
关于盖挖法施工的优缺点,下列说法错误的是( )。
A 盖挖逆作法施工时,混凝土结构的水平施工缝处理较为困难 B 作业空间小,施工速度较明挖法慢、工期长 C 施工受外界气候影响大,基坑底部土体稳定,隆起小,施工安全 D 盖挖逆作法用于城市街区施工时,可尽快恢复路面,对道路交通影响较小
查看
单选
通风道及地面通风亭的作用是( )。
A 维持地下车站内空气质量 B 供乘客进出车站 C 供乘客集散、候车、换车 D 方便乘客办理运营业务
查看
单选
附近有10kV电力架空线时,必须保证钻机与电力线的安全距离大于( )。
A 4m B 4.5m C 5m D 6m
查看
单选
箱涵顶进穿越铁路路基时,应采取安全保护措施,下列安全保护措施错误的是( )。
A 限制铁路列车通过施工区域的速度 B 在列车运行间隙开挖和顶进 C 列车通过时可以挖土作业,但严禁顶进作业 D 箱涵顶进过程中,任何人不得在顶铁、顶柱布置区内停留
查看
单选
下列关于工程竣工质量验收的规定,说法错误的是( )。
A 主控项目的合格率应达到100% B 一般项目的合格率应达到75% C 涉及结构安全和使用功能的试块、试件以及有关材料,应按规定进行见证取样检测 D 隐蔽工程在隐蔽前应由施工单位通知监理单位进行验收
查看
刷题小程序
市政公用工程管理与实务题库小程序